
开始:证券时报体育游戏app平台
范围发稿,王宝强方暂无复兴。
11月21日,“王宝强被举报涉嫌讹诈”话题冲上热搜,激发和蔼。
据多家媒体报谈,有博主发文称,成皆恩波格斗俱乐部向警方报案称,王宝强偏激公司涉嫌诈骗。据悉,两边曾合作拍摄《八角笼中》,但在票房分红上存在争议。当今,王宝强方面尚未作念出负责复兴。
据悉,这家俱乐部的负责东谈主钱云龙前去成皆市郫皆区配合派出所报案,称王宝强在其电影《八角笼中》的票房分红问题上涉嫌对恩波格斗俱乐部进行了诈骗。恩波格斗俱乐部宣称,曩昔五年里,俱乐部为这部电影进入了深广的东谈主力、物力和财力,估量达数百万元。正本俱乐部生机取得5%的票房分红(约1.1亿元),但由于王宝强未能完了应许,导致俱乐部靠近严重的蓄意逆境。警方已受理此案,并向恩波格斗俱乐部出具了回执,下一步将伸开访谒。
公开尊府透露,《八角笼中》是王宝强自导自演的第二部电影,在昨年暑期档上映,累计票房22.07亿元。该片凭证真确事件改编,敷陈了失落的中年男东谈主向腾辉提醒一群孩子凸起侥幸重围,探寻东谈主生出息的故事。
范围发稿,王宝强方暂无复兴。
关于该音信,一部分网友暗意不敬佩,扶植王宝强。
也有些网友抓怀疑气派,合计票房分红并不是浅陋的分拨,还需要议论到宣发老本和其他用度。
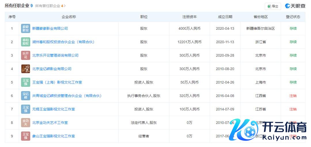
天眼查App透露,王宝强名下共关系9家企业,其中5家为存续状况,包括王宝强(上海)影视文化责任室、北京宝亿嵘影业有限公司、北京乐着花处分征询有限公司等,王宝强均担任鼓励,其交易领土包括影视、股权投资。
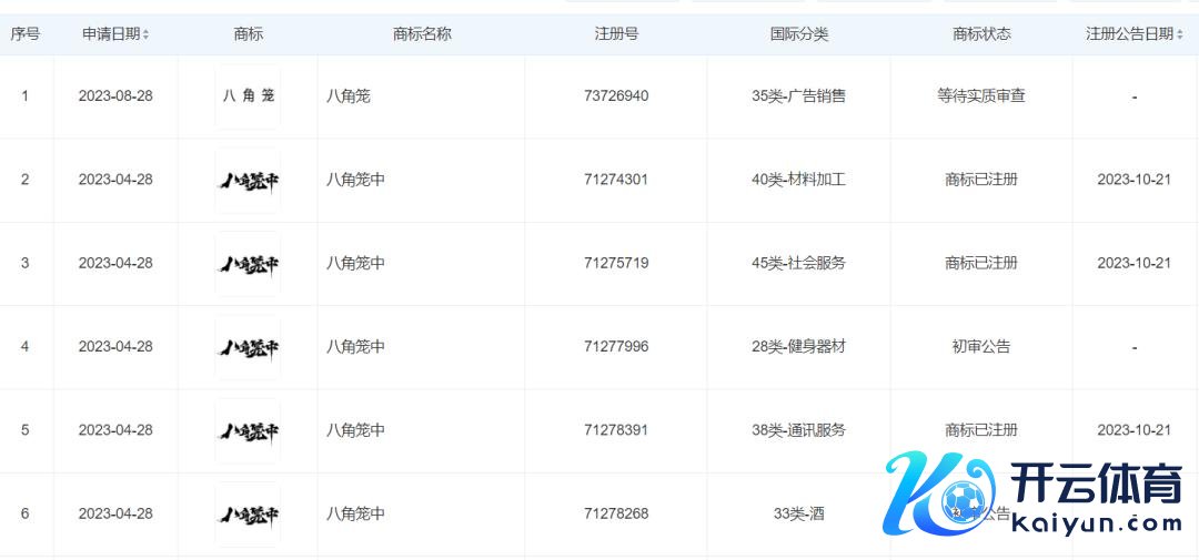
值得一提的是,王宝强实控的北京乐着花影业有限公司已到手注册多枚“八角笼中”商标,外洋分类波及珠宝钟表、告白销售等,同期还登记了“八角笼中”好意思术和笔墨作品文章权。
抽象深圳晚报、天眼查、21世纪经济报谈
体育游戏app平台